こんばんは。
今日も日経平均は300円を超える上げで、6日の今年一番の下げを見て注文を入れたひふみプラスは結構高いところで購入することになりそうですね。まぁ、上げるということは保有している銘柄の含み益が増えるので良しとしましょう。
そうそう、今日からAmazonのサイバーマンデーが始まっていますね。あとからちょこっと自分ものぞいてみようと思います。前から欲しかったものが安くなっていたらラッキーですが、最近買ったものがお安く売られていたら悲しいですよね( *´艸`)
さてさて、クラウドバンクで保有しているから分配金のお知らせがありました。毎月クラウドバンクからメールで分配金のご連絡を頂いていますが、今月も定例のチャリンチャリンと分配金の受領です。今月も前月に引き続き2ファンドの償還を迎えています。
※このメールは対象者の方に送信しています。
いつもクラウドバンクをご利用いただき、誠にありがとうございます。
━━━━━━━━━━━━━━━━━━━━━━━━━━━━━━
■分配・償還・キャッシュバックのお知らせ
━━━━━━━━━━━━━━━━━━━━━━━━━━━━━━お客様の投資されているファンドにおきまして分配・償還・キャッシュバックがありましたのでお知らせします。
マイページからログインしていただくと分配・償還・キャッシュバックした金額をご確認いただけます。
マイページ内にある「明細・履歴」というタブをクリックしますと分配金・出資払戻金(償還金)・キャッシュバックの詳細が明記されております。「明細・履歴」ページにおきましては、「期間」・「ファンド名」・「お取引内容」をそれぞれの要素の組合せで抽出・時系列に表示し、またはCSVでダウンロードできます。
●運用中のファンドの(全体としての)運用状況や、運用が終了したファンドの(全体としての)運用結果(成果)はファンド毎のWEBページの「運用レポート」からご確認いただけます。
●運用中のファンドの運用期間や償還予定日はファンド毎のWEBページの「ファンド概要」からご確認下さい。
クラウドバンクから12度目の分配金の受領です。
前月に引き続き7ファンドから分配金を受領、2ファンドが無事に償還



バイオマス発電ファンド7号
2017年07月 54円
2017年08月 51円
2017年09月 53円
2017年10月 58円
2017年11月 49円
2017年12月 51円 NEW!!
5月に入金をして今回が6度目の分配金の受領となります。9月と11月に早期償還が2回ありましたが、12月7日に無事償還を迎え出資払戻金を受領しています。
クラウドバンク/3ファンドから早期償還で出資払戻金を受領(2017年9月) - じゅん@投資家志望の投資日記
クラウドバンク/2ファンドから早期償還で出資払戻金を受領(2017年11月) - じゅん@投資家志望の投資日記
償還金額は1,590円。
こちらは1万円で投資申し込みをしていました。
316円/10,000円 × 12/7ヶ月 ≒ 5.4%

当初の目標利回りは6.4%だったので、最終的な運用利回りは6.4%と目標通りだったようです。ただ平均運用率が93%と早期償還が発生していたために実質利回りは5.4%程度で落ち着いてしまったようです。運用期間に2週間ほど誤差があるので、クラウドバンク上の利回りとは乖離が発生しています。
太陽光発電ファンド75号
2017年09月 29円
2017年10月 87円、6円、32円、30円
2017年11月 19円、17円、8円、18円、5円
2017年12月 9円 NEW!!
こちらは6月末に入金をして今回が4度目の分配金の受領となります。このファンドは先月に償還を迎えていたんですが、最後の分配金がちゃりんと入ってきたようです。まぁ、10円玉にも満たない金額ですので、大きく大勢には影響はないですけどね( *´艸`)
太陽光発電ファンド85号
2017年09月 1円
2017年09月 12円
2017年10月 30円、30円
2017年11月 26円、32円
2017年12月 28円、29円 NEW!!
こちらも今回が5度目の分配金の受領となります。こちらの運用期間は7ヶ月で来年の1月末を予定しています。運用目標利回りは6.8%となっています。今の所早期償還は行われずに、ちゃりんちゃりんと分配金を受領しています。
不動産担保型ローンファンド第129号(オリックス銀行 融資内定済不動産案件付きファンド)
2017年10月 15円、2円、16円
2017年11月 17円、2円、22円
2017年12月 1円、24円、16円 NEW!!
こちらは8月に投資申し込みを行ったファンドになります。今回が3度目の分配金の受領となります。こちらの運用期間は9ヶ月で来年の6月末を予定しています。複数の分配金が発生していますが、内容がよく分かりませんねぇ。保有しているファンドの中では比較的長期のものです。運用目標利回りは低めの5.1%です。こちらもまだ早期償還は行われていません。
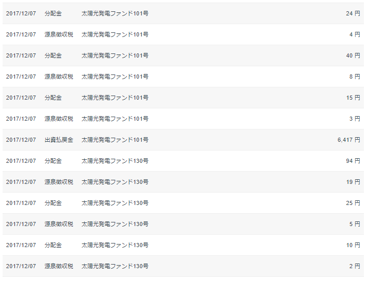
太陽光発電ファンド101号
2017年10月 5円
2017年11月 25円、36円
2017年12月 24円、40円、15円 NEW!!
こちらは9月に投資申し込みを行ったファンドになります。こちらも今回が3度目の分配金の受領となります。こちらの運用期間は3ヶ月でしたが、11月末に早期償還があり、今月の償還にて運用終了となり無事に償還を迎えました。
クラウドバンク/2ファンドから早期償還で出資払戻金を受領(2017年11月) - じゅん@投資家志望の投資日記
償還金額は6,417円。
こちらも1万円で投資申し込みをしていました。
145円/10,000円 × 12/3ヶ月 ≒ 5.8%

当初の目標利回りは6.8%だったので、最終的な運用利回りは7.1%と目標通りだったようです。ただ平均運用率が92%と早期償還が発生していたために実質利回りは5.8%程度で落ち着いています。こちらも実際の資金の拘束期間と運用レポートの運用期間に誤差があるので、数字が一致はしていません。
太陽光発電ファンド130号
2017年11月 1円
2017年12月 94円、25円、10円 NEW!!
こちらは10月に投資申し込みを行ったファンドになります。今回2度目の分配金の受領となります。こちらの運用期間は4ヶ月で来年の1月末を予定しています。運用目標利回りは6.9%となっています。こちらも早期償還なく、来月からちゃりんちゃりんと分配金の受領を期待します。
バイオマス発電ファンド15号
2017年12月 2円、30円、4円 NEW!!
こちらは10月に投資申し込みを行ったファンドになります。今回初めての分配金の受領となります。こちらの運用期間は5ヶ月で来年の3月末を予定しています。運用目標利回りは6.3%となっています。
2ファンドが現在も募集中

今月も7ファンドから分配金をちゃりんちゃりんと受領、そして新たに2ファンドが無事に償還を迎えました。先月には2ファンド新たに申し込みを行っていますので、来月も同じく7ファンドからの分配金の受領となりそうです。これまでのクラウドバンクでの運用結果は9ファンドがすべて問題もな償還を迎え、元金が手元に戻ってきています。銀行金利よりも断然素敵な利回りです。
今現在、太陽光発電ファンド85号(目標利回り6.8%)、不動産担保型ローンファンド第129号(オリックス銀行 融資内定済不動産案件付きファンド)(目標利回り5.1%)、太陽光発電ファンド103号(目標利回り6.9%)、バイオマス発電ファンド15号(目標利回り6.3%)、太陽光発電ファンド158号(目標利回り6.2%)、バイオマス発電ファンド38号(目標利回り6.8%)の6本のファンドを保有しています。
今回2ファンドの償還でまた口座に現金が残っているので、いつものように端数入金を行い新たなファンドに投資申し込みを行う予定です。
引き続きコツコツ頑張りますよー( *´艸`)